[Bésp~óké 設計品味系列 R~F23BB8200Á~PTW 的尺寸與安裝空間需求]

[最後更新日期 : 2025年4月10日]

[為了提升服務滿意度,誠摯的邀請您在看完本則常見問答後,可以在文章下方給予我們滿意度鼓勵,以期日後提供更優質的服務,謝謝。]

[-找不到您需要的功能嗎?或是需要專業技術支援!請點擊視窗右下方客服圖像立即啟動 24 小時線上文字客服~]

[選擇一個適合的位置]

[• 具有未舖設可能阻礙通風的地毯或地板的堅固平面。]

[• 避免陽光直射。]

[• 具有足夠空間打開和關上冰箱門。]

[• 遠離任何熱源。]

[• 具有可供進行維護保養和維修的空間。]

[• 溫度介於 10 °C 和 43 °C 之間。]

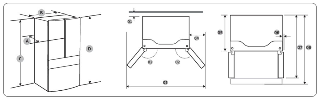
[A:730 公釐]

[B:908 公釐]

[C:1749 公釐]

[D:1778 公釐]

[1:建議 50 公釐 以上]

[2:125°]

[3:1485 公釐]

[4:289 公釐]

[5:610 公釐]

[6:54 公釐]

[7:1093 公釐]

[8:1131 公釐]

  • [表格中的量度可能與實際測量的量度稍有出入,視所採用的測量和舍入方法而定。]

[若有任何需要協助之處,您可以諮詢 24小時線上文字客服 / 客服信箱,我們的專業團隊將隨時為您提供服務。]

[謝謝您的意見與回饋]