[雙門冰箱 RT18DG~6308S9 的產品尺寸]

[最後更新日期 : 2025年3月5日]

[為了提升服務滿意度,誠摯的邀請您在看完本則常見問答後,可以在文章下方給予我們滿意度鼓勵,以期日後提供更優質的服務,謝謝。]

[-找不到您需要的功能嗎?或是需要專業技術支援!請點擊視窗右下方客服圖像立即啟動 24 小時線上文字客服~]

[深度 "Á":810 公釐]

[寬度 "B”:729 公釐]

[高度 "C”:1669 公釐]

[總體高度 “D”:1697 公釐]

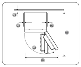
[01:建議 50 公釐 以上]

[02:121°]

[03:50 公釐]

[04:1117 公釐]

[05:1470 公釐]

[建議安裝的位置]

[• 地面堅固硬平坦,不舖設會阻塞通風的地毯或地板材料]

[• 遠離直射陽光]

[• 有足夠空間打開和關上冰箱門]

[• 遠離熱源]

[• 供進行維護保養和維修的空間]

[• 溫度範圍:10 °C 和 43 °C 之間]

[若有任何需要協助之處,您可以諮詢 24小時線上文字客服 / 客服信箱,我們的專業團隊將隨時為您提供服務。] 

[謝謝您的意見與回饋]