[RT35 極簡雙門冰箱 351L 的尺寸大小]
[最後更新日期 : 2024年10月30日]
[為了提升服務滿意度,誠摯的邀請您在看完本則常見問答後,可以在文章下方給予我們滿意度鼓勵,以期日後提供更優質的服務,謝謝。]
[-找不到您需要的功能嗎?或是需要專業技術支援!請點擊視窗右下方客服圖像立即啟動 24 小時線上文字客服~]
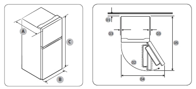
[(單位:公釐)]
|
A |
B |
C |
01 |
02 |
03 |
04 |
[05]
|
|
[709] |
[600] |
[1715] |
[50 公釐以上] |
[115°(冷凍)] [115°(冷藏)] |
[至少 50 公釐] |
[850] |
[1263]
|
[若有任何需要協助之處,您可以諮詢 24小時線上文字客服 / 客服信箱,我們的專業團隊將隨時為您提供服務。]
[謝謝您的意見與回饋]
[請回答所有問題。]