[WD22DB~8995BZTW~-智慧熱泵滾筒洗衣機的裝置部位圖]
[最後更新日期 : 2025年1月8日]
[為了提升服務滿意度,誠摯的邀請您在看完本則常見問答後,可以在文章下方給予我們滿意度鼓勵,以期日後提供更優質的服務,謝謝。]
[-找不到您需要的功能嗎?或是需要專業技術支援!請點擊視窗右下方客服圖像立即啟動 24 小時線上文字客服~]
|
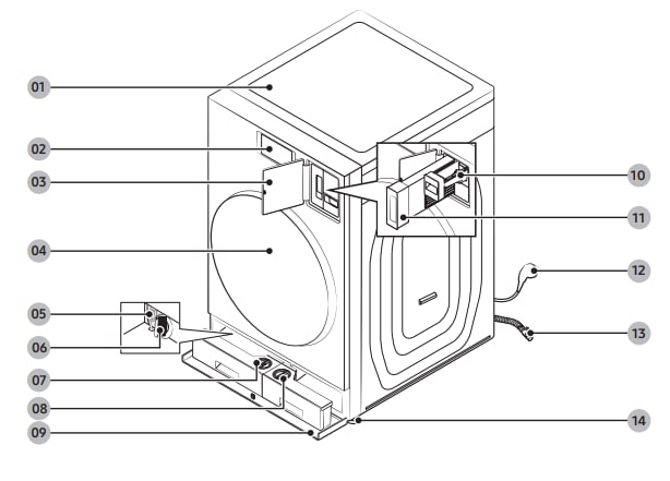
[01 機頂] |
[02 LCD 面板] |
[03 棉絮濾網蓋] |
[04 機門] |
[05 緊急排水管] |
|
[06 排水濾網] |
[07 自動投入盒] |
[08 彈性自動投入盒] |
[09 分隔盒蓋] |
[10 手動柔軟精投入盒] |
|
[11 棉絮濾網] |
[12 電源插頭] |
[13 排水管] |
[14 平衡支腳] |
- [請勿將水直接噴灑到本設備上進行清潔。]
- [請勿使用強酸洗劑。]
- [請勿使用苯、稀釋劑或酒精清潔設備。]
- [在進行清潔或維護時,請將設備的插頭從牆上插座拔下。]
[若有任何需要協助之處,您可以諮詢 24小時線上文字客服 / 客服信箱,我們的專業團隊將隨時為您提供服務。]
[謝謝您的意見與回饋]
[請回答所有問題。]