[RT47 極簡雙門冰箱 466L 與牆面建議距離為多少]
[最後更新日期 : 2024年10月25日]
    [為了提升服務滿意度,誠摯的邀請您在看完本則常見問答後,可以在文章下方給予我們滿意度鼓勵,以期日後提供更優質的服務,謝謝。]
[-找不到您需要的功能嗎?或是需要專業技術支援!請點擊視窗右下方客服圖像立即啟動 24 小時線上文字客服~]
[選擇一個位置:]
[• 地面堅固硬平坦,不舖設會阻塞通風的地毯或地板材料]
[• 遠離直射陽光]
[• 有足夠空間打開和關上冰箱門]
[• 遠離熱源]
[• 供進行維護保養和維修的空間]
[• 溫度範圍:10°C 和 43°C 之間]
 
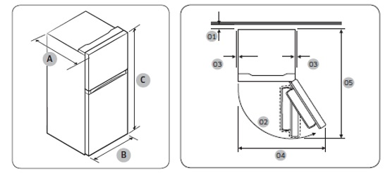
        [(單位:公釐)]
| 
 A 
 | B | C | 01 | 02 | 03 | 04 | [05] | 
|---|---|---|---|---|---|---|---|
| [717] | [700] | [1825] | [建議 50 公釐 以上] | [115°(冷凍)] [115°(冷藏)] | [至少 50 公釐] | [1006] | [1356] | 
[若有任何需要協助之處,您可以諮詢 24小時線上文字客服 / 客服信箱,我們的專業團隊將隨時為您提供服務。]
[謝謝您的意見與回饋]
[請回答所有問題。]